BMW
- vsm
- Administrator
- Beiträge: 3038
- Registriert: Mo 15. Mai 2017, 12:18
- PLZ: 12
- Kontaktdaten:
-
- Moderator
- Beiträge: 7248
- Registriert: So 7. Feb 2016, 15:04
- Roller: Vormals Vectrix VX-2 und E-Max 80L
- PLZ: 41564
- Kontaktdaten:
Re: BMW
Von BMW gabe es ja schon verschiedene Prototypen. So recht will man in Bayern E-Mobilität für Motorräder nicht angehen.
Siehe auch hier:
viewtopic.php?f=81&t=6132
viewtopic.php?f=81&t=6052
Siehe auch hier:
viewtopic.php?f=81&t=6132
viewtopic.php?f=81&t=6052
- MEroller
- Moderator
- Beiträge: 19323
- Registriert: Mo 1. Nov 2010, 22:37
- Roller: Zero S 11kW ZF10.5/erider Thunder (R.I.P)
- PLZ: 7
- Tätigkeit: Entwickler (Traktionsbatterie)
- Kontaktdaten:
Re: BMW
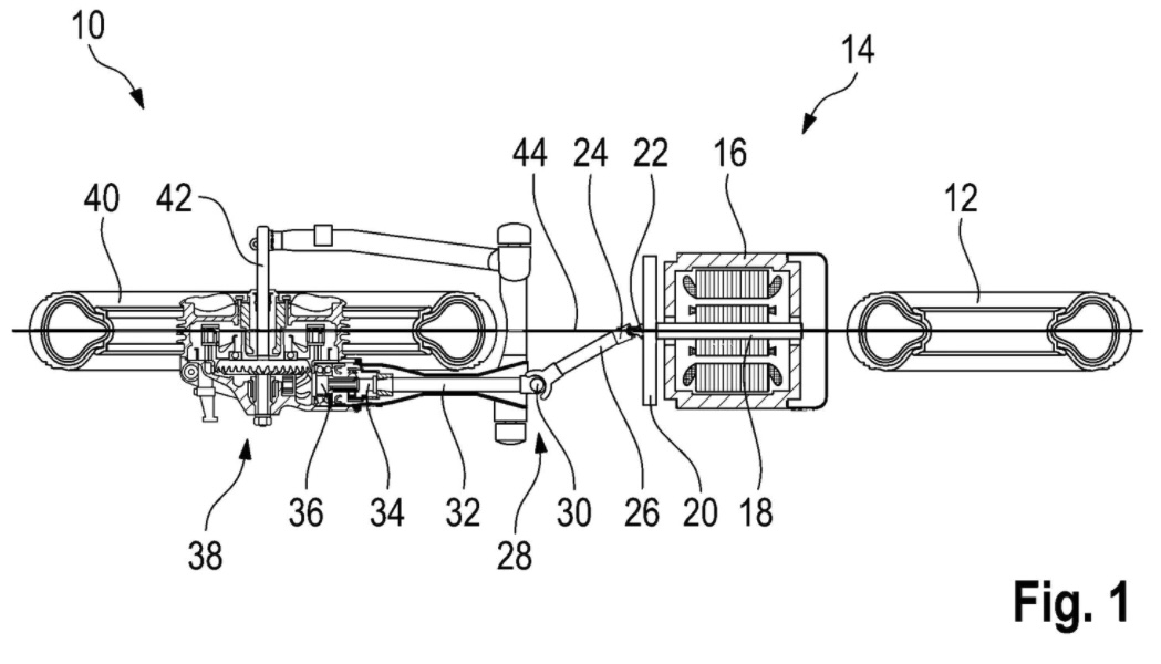
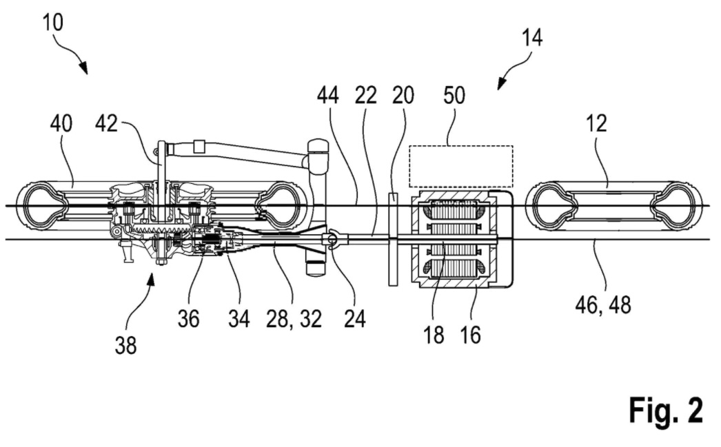
Ha, ENDLICH der noch von keinem Hersteller bislang angegangene voraussichtlich völlig wartungsfreie E-Motorradantrieb per Welle
Zumindest deutet eine BMW Patentanmeldung schon mal in diese Richtung:
https://electrek.co/2021/06/12/bmw-pate ... try-first/

oder

Was auf den Bildern noch fehlt ist die logischste Lösung des Mittenversatzes von Motorwelle und Antriebswelle über eine Stirnrad-Untersetzung
Dann noch maximal alle 30 000km oder so einen Getriebeölwechsel
Und kein Liegenbleiben mehr wegen Zahnriemenriss, kein Riemenheulen mehr, kein Nachspannen mehr, kein Kettenrasseln, -längung, -schmieren mehr. Ein Traum

Zumindest deutet eine BMW Patentanmeldung schon mal in diese Richtung:
https://electrek.co/2021/06/12/bmw-pate ... try-first/

oder

Was auf den Bildern noch fehlt ist die logischste Lösung des Mittenversatzes von Motorwelle und Antriebswelle über eine Stirnrad-Untersetzung

Dann noch maximal alle 30 000km oder so einen Getriebeölwechsel

Und kein Liegenbleiben mehr wegen Zahnriemenriss, kein Riemenheulen mehr, kein Nachspannen mehr, kein Kettenrasseln, -längung, -schmieren mehr. Ein Traum

Zero S 11kWZF10.5
e-rider Thunder 5000: Ruht in Frieden
e-rider Thunder 5000: Ruht in Frieden
- Tomkat
- Beiträge: 355
- Registriert: Di 22. Mai 2018, 12:03
- Roller: SOCO TS1200R
- PLZ: 91338
- Kontaktdaten:
Re: BMW
Kardanantrieb ist super! Jetzt fehlt noch eine Lösung für das enorme Drehmoment des Motors. Mein Vorschlag sind zwei gegenläufige Motoren über Stirnräder verbunden, damit kann man auch die primäre Untersetung lösen. Ich sollte das zum Patent angemelden! 

Das Gehirn kann wie ein Muskel trainiert werden. Let's do it! Use your brain!
-
- Beiträge: 6501
- Registriert: Sa 6. Aug 2011, 10:04
- Roller: E-Max 90s, E-Max 110s, E-Max 120s
- PLZ: 2
- Kontaktdaten:
Re: BMW
Das würde aber sehr teuer werden. Ein Mittelmotor mit 6.000 1/min hat gar nicht so viel Drehmoment. Geht man mit der Drehzahl noch höher, braucht es ein einstufiges Stirnradgetriebe im AS-Lagerschild oder Planetengetriebe. Elektromotor und Kardan hat doch die russische Firma Ural schon vorgemacht. Mich wundert eigentlich, für was man heute ein Patent bekommen kann.
Auch die Elektoantriebe für Autos werden immer komplexer werden. https://www.elektrotechnik.vogel.de/wie ... -245&uuid=
Auch die Elektoantriebe für Autos werden immer komplexer werden. https://www.elektrotechnik.vogel.de/wie ... -245&uuid=
E-Max 90s von 2012 - Vmax>46km/h - km-Stand >5150 - 16x Littokala 51,2V 105Ah = 5kWh. JK-B1A24S15P - Sevcon Gen4
E-Max 110s von 2010 - Vmax>50km/h - km-Stand >1.800 - 4x Littokala 72V 50Ah = 14,4kWh
E-Max 120s von 2015 - Vmax 80km/h - TÜV 03.2026 - 72V100Ah LFP-Akku - JK-B2A24S15P Balancer BT - MQ Controller BT
E-Max 110s von 2010 - Vmax>50km/h - km-Stand >1.800 - 4x Littokala 72V 50Ah = 14,4kWh
E-Max 120s von 2015 - Vmax 80km/h - TÜV 03.2026 - 72V100Ah LFP-Akku - JK-B2A24S15P Balancer BT - MQ Controller BT
-
- Beiträge: 724
- Registriert: Mo 13. Feb 2017, 08:48
- Roller: GSX-R e899 K2
- PLZ: 96114
- Kontaktdaten:
Re: BMW
Naja, mein Mittelmotor hat laut Herstellerangabe 640Nm und dreht bis 6k. Allerdings hast Du Recht in Bezug auf teuerPeter51 hat geschrieben: ↑Di 15. Jun 2021, 12:12Das würde aber sehr teuer werden. Ein Mittelmotor mit 6.000 1/min hat gar nicht so viel Drehmoment. Geht man mit der Drehzahl noch höher, braucht es ein einstufiges Stirnradgetriebe im AS-Lagerschild oder Planetengetriebe. Elektromotor und Kardan hat doch die russische Firma Ural schon vorgemacht. Mich wundert eigentlich, für was man heute ein Patent bekommen kann.
Auch die Elektoantriebe für Autos werden immer komplexer werden. https://www.elektrotechnik.vogel.de/wie ... -245&uuid=
-
- Beiträge: 6501
- Registriert: Sa 6. Aug 2011, 10:04
- Roller: E-Max 90s, E-Max 110s, E-Max 120s
- PLZ: 2
- Kontaktdaten:
Re: BMW
Na ja, die 640Nm wird er ja nicht bei 6.000 1/min haben. Wären ja sonst rund 400kW. https://www.js-technik.de/drehmoment-berechnung
E-Max 90s von 2012 - Vmax>46km/h - km-Stand >5150 - 16x Littokala 51,2V 105Ah = 5kWh. JK-B1A24S15P - Sevcon Gen4
E-Max 110s von 2010 - Vmax>50km/h - km-Stand >1.800 - 4x Littokala 72V 50Ah = 14,4kWh
E-Max 120s von 2015 - Vmax 80km/h - TÜV 03.2026 - 72V100Ah LFP-Akku - JK-B2A24S15P Balancer BT - MQ Controller BT
E-Max 110s von 2010 - Vmax>50km/h - km-Stand >1.800 - 4x Littokala 72V 50Ah = 14,4kWh
E-Max 120s von 2015 - Vmax 80km/h - TÜV 03.2026 - 72V100Ah LFP-Akku - JK-B2A24S15P Balancer BT - MQ Controller BT
- Olli81BS
- Beiträge: 258
- Registriert: So 21. Okt 2018, 09:52
- Roller: BMW CE04 offen
- PLZ: 38106
- Wohnort: Braunschweig
- Tätigkeit: Geschäftsführer Media-Concepts GmbH
- Kontaktdaten:
BMW CE 02 Elektromotorrad
BMW hat soeben den jüngsten Spross seiner neuen E-Bike-Serie vorgestellt, ein Elektromotorrad mit der Bezeichnung CE 02:
https://youtu.be/EOHJ65VV0as
Das Bike ist noch ein Konzeptbike, und richtet sich definitiv an die jüngere Zielgruppe.
Die Leistung wird mit 11kW, die Reichweite mit ca. 90km und die Höchstgeschwindigkeit mit 90lm/h angegeben..
Cooles Teil finde ich, das Design geht definitiv in die richtige Richtung, genial finde ich die Idee, nen Skateboard
als Fußrasten zu verwenden.. 
https://youtu.be/EOHJ65VV0as
Das Bike ist noch ein Konzeptbike, und richtet sich definitiv an die jüngere Zielgruppe.
Die Leistung wird mit 11kW, die Reichweite mit ca. 90km und die Höchstgeschwindigkeit mit 90lm/h angegeben..
Cooles Teil finde ich, das Design geht definitiv in die richtige Richtung, genial finde ich die Idee, nen Skateboard


-
- Beiträge: 8388
- Registriert: So 22. Feb 2009, 11:31
- Roller: RGNT Classic NO. 1 SEL
- PLZ: 14***
- Wohnort: bei Berlin
- Kontaktdaten:
Re: BMW
Nur gut, dass es zum CE02 nicht schon einen langen Thread gibt ...
RGNT V2 ab 01/23 > 20000km
NIU NGT ab 06/20 Km-Stand > 36000km, nach Unfall verkauft in 5/23
Niu NPro seit 09/19 Km-Stand > 8000km - Verkauft in 10/22
Ahamani Swap Bj 2007 - 2.4KW - Vario - Km-Stand > 27.000km - 40AH Thundersky ab 11/08 - CALB 70AH seit 10/11 -Verschrottung 09/19
NIU NGT ab 06/20 Km-Stand > 36000km, nach Unfall verkauft in 5/23
Niu NPro seit 09/19 Km-Stand > 8000km - Verkauft in 10/22
Ahamani Swap Bj 2007 - 2.4KW - Vario - Km-Stand > 27.000km - 40AH Thundersky ab 11/08 - CALB 70AH seit 10/11 -Verschrottung 09/19
Wer ist online?
Mitglieder in diesem Forum: 0 Mitglieder und 11 Gäste